EasyApplianceParts is now PartSelect! We've merged our sites to provide a better shopping experience for you.   Full Details
Back
Back
Back
Keep typing for more specific results...
Keep typing for more specific results...

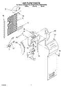
ED5FHGXKQ03 Whirlpool Refrigerator - Overview

Sections of the ED5FHGXKQ03

[Viewing 12 of 12]
Keep searches simple, eg. "belt" or "pump".
Refrigerator Crisper Drawer with Humidity Control – Part Number: WP2188656
Refrigerator Crisper Drawer with Humidity Control
★★★★★
★★★★★
(493)
PartSelect #: PS11739119
Manufacturer #: WP2188656
The crisper drawer (Crisper Pan, Refrigerator Crisper Drawer) with humidity control is meant to keep your vegetables and fruit as fresh as possible by allowing you to regulate the humidity levels with...
$88.88
  In Stock
Order now and your part arrives by Apr 23
EveryDrop Water Filter – Part Number: EDR5RXD1
EveryDrop Water Filter
★★★★★
★★★★★
(53)
PartSelect #: PS11722132
Manufacturer #: EDR5RXD1
Enjoy cleaner water and ice with this easy-to-install refrigerator filter. It uses Triple Filtration Technology to reduce 16 common contaminants, so your drinks and meals taste better. For best result...
$79.33
  In Stock
Order now and your part arrives by Apr 23
Light Bulb - 40W – Part Number: 8009
Light Bulb - 40W
★★★★★
★★★★★
(78)
PartSelect #: PS884734
Manufacturer #: 8009
This an authentic OEM 40-Watt replacement light bulb, used in a number of household appliances. It is specially designed to withstand extreme temperatures, which is why these replacement bulbs are mos...
$19.54
  In Stock
Order now and your part arrives by Apr 23
Refrigerator Lower Door Closing Cam – Part Number: WP2182179
Refrigerator Lower Door Closing Cam
★★★★★
★★★★★
(94)
PartSelect #: PS11739042
Manufacturer #: WP2182179
The lower door closing cam is used in refrigerator doors, it can be located on the fresh food side or the freezer side. It helps hold the door open. This cam is made out of plastic, so it might crack ...
$9.62
  In Stock
Order now and your part arrives by Apr 23
Replacement Ice Maker – Part Number: 4317943
Replacement Ice Maker
★★★★★
★★★★★
(249)
PartSelect #: PS358591
Manufacturer #: 4317943
This ice maker (Complete Icemaker Assembly, Whirlpool Icemaker Kit, Ice Maker Assembly, Refrigerator Ice Maker, Icemaker) receives water from the water inlet valve, freezes it, and dispenses it into t...
$120.55
  In Stock
Order now and your part arrives by Apr 23
Refrigerator Crisper Drawer With Handle – Part Number: WP2188664
Refrigerator Crisper Drawer With Handle
★★★★★
★★★★★
(159)
PartSelect #: PS11739122
Manufacturer #: WP2188664
This OEM, clear convertible meat drawer can be used to store meats or vegetables and is designed for the lower portion of your refrigerator, generally. It has its own cold air duct to allow cold air f...
$59.47
  In Stock
Order now and your part arrives by Apr 23
Refrigerator Door Cam – Part Number: WPW10329686
Refrigerator Door Cam
★★★★★
★★★★★
(73)
PartSelect #: PS11752991
Manufacturer #: WPW10329686
The Door Cam is a black plastic part which helps the door pivot shut while keeping the door and hinge in proper alignment. Lubricating this part upon installation may help it move easier. It attaches...
$9.62
  In Stock
Order now and your part arrives by Apr 23
Water Inlet Valve – Part Number: W10408179
Water Inlet Valve
★★★★★
★★★★★
(100)
PartSelect #: PS3497634
Manufacturer #: W10408179
The water inlet valve (Refrigerator Water Inlet Valve Kit) provides water for the ice maker and water dispenser. This part is located at the back of the refrigerator, and connects to the water supply....
$78.77
  In Stock
Order now and your part arrives by Apr 23
Icemaker Control Assembly – Part Number: W10190935
Icemaker Control Assembly
★★★★★
★★★★★
(31)
PartSelect #: PS2341896
Manufacturer #: W10190935
The “Icemaker Control Assembly” (Module & Motor Assembly, Ice Maker Control Module, Icemaker Module, Refrigerator Ice Maker Module) is what controls the actions of your ice maker. The control turns th...
$70.95
  In Stock
Order now and your part arrives by Apr 23
Refrigerator Control Bracket – Part Number: WP2180226
Refrigerator Control Bracket
★★★★★
★★★★★
(128)
PartSelect #: PS11739027
Manufacturer #: WP2180226
This is a control bracket for your refrigerator, and may also be known as the dispenser control bracket. The function of this part is to hold the micro switches and the light socket in the freezer dis...
$17.15
  In Stock
Order now and your part arrives by Apr 23
Refrigerator Ice Guide – Part Number: WP2180224
Refrigerator Ice Guide
★★★★★
★★★★★
(63)
PartSelect #: PS11739026
Manufacturer #: WP2180224
This is a refrigerator ice guide that is made entirely of clear plastic. This ice guide is located in the freezer door. Turn your refrigerator ice dispenser off before replacing the part. This is a si...
$17.15
  In Stock
Order now and your part arrives by Apr 23
Defrost Timer – Part Number: W10822278
Defrost Timer
★★★★★
★★★★★
(40)
PartSelect #: PS11723171
Manufacturer #: W10822278
The Defrost Timer (Defrost control) acts like a clock by switching on the defrost heater circuit after a predetermined amount of compressor run time. This allows the defrost circuit to clear the evapo...
$34.74
  In Stock
Order now and your part arrives by Apr 23

Manuals & Care Guides for ED5FHGXKQ03

Click to download

Questions And Answers for ED5FHGXKQ03

Ask our experts a question about this model and we'll get back to you as soon as possible!

1 question answered by our experts.
Sort by:
  • 1
Sorry, we couldn't find any existing answers that matched.Try using some different or simpler keywords, or submit your new question by using the "Ask a Question" button above!
Troy
September 1, 2025
Looking for freezer and get refrigerator magnetic gasket in the color white. Do you have it available?
For model number ED5FHGXKQ03
PartSelect logo
Hello Troy, thank you for getting in touch. The freezer door gasket, part number PS323899, and the fresh food door gasket, part number PS323900, are compatible with your model number. We hope this helps.

Did this question help you?
Thank you for voting!
Related Parts:
  • 1

Common Symptoms of the ED5FHGXKQ03

[Viewing 23 of 23]
Ice maker not making ice
Fixed by
these parts
Fixing Fixing Fixing
Show All
Door won’t open or close
Fixed by
these parts
Fixing Fixing Fixing
Show All
Leaking
Fixed by
these parts
Fixing Fixing Fixing
Show All
Not dispensing water
Fixed by
these parts
Fixing Fixing Fixing
Show All
Ice maker won’t dispense ice
Fixed by
these parts
Fixing Fixing Fixing
Show All
Fridge too warm
Fixed by
these parts
Fixing Fixing Fixing
Show All
Freezer section too warm
Fixed by
these parts
Fixing Fixing Fixing
Show All
Will Not Start
Fixed by
these parts
Fixing Fixing Fixing
Show All
Noisy
Fixed by
these parts
Fixing Fixing Fixing
Show All
Freezer not defrosting
Fixed by
these parts
Fixing Fixing Fixing
Show All
Clicking sound
Fixed by
these parts
Fixing Fixing Fixing
Show All
Light not working
Fixed by
these parts
Fixing Fixing Fixing
Show All
Fridge and Freezer are too warm
Fixed by
these parts
Fixing Fixing Fixing
Show All
Door Sweating
Fixed by
these parts
Fixing Fixing Fixing
Show All
Fridge too cold
Fixed by
these parts
Fixing Fixing Fixing
Show All
Frost buildup
Fixed by
these parts
Fixing Fixing Fixing
Show All
Ice maker dispenses too much ice
Fixed by
these parts
Fixing Fixing Fixing
Show All
Freezer too cold
Fixed by
these parts
Fixing Fixing Fixing
Show All
Fridge runs too long
Fixed by
these parts
Fixing Fixing Fixing
Show All
Too warm
Fixed by
these parts
Fixing Fixing Fixing
Show All
Ice maker dispenses too little ice
Fixed by
these parts
Fixing Fixing Fixing
Show All
Won’t start
Fixed by
these parts
Fixing Fixing Fixing
Show All
Touchpad does not respond
Fixed by
these parts
Fixing Fixing
Show All
Keep searches simple. Use keywords, e.g. "leaking", "pump", "broken" or "fit".
was not making ice
take out ice bucket, just loosen the top 2 screws, remove the bottom screw, slide ice maker up & out, srewdriver to release wiring harness clip, reverse to put back in. was very simple. did not install water inlet kit yet. water under fridge stopped after i changed the ice maker.
Parts Used:
Water Inlet Valve Replacement Ice Maker
  • GLENN from ORLAND PARK, IL
  • Difficulty Level:
    Really Easy
  • Total Repair Time:
    15 - 30 mins
  • Tools:
    Nutdriver, Screw drivers
700 of 781 people found this instruction helpful.
Was this instruction helpful to you?
Thank you for voting!
Ice Maker quit working, I could manually cycle unit but then the water would overflow when unit was re-filling.
I backed out the 2 top screws about a quarter inch and then removed bottem screw with a quater inch nut driver. I then lifted Ice Maker clear of the two top screws and lowered it enough to unclip the power connection with a small screwdriver. The new Ice Maker was wired correctley for my refrigeator so all I had to do wea reconnect the power connection and mount new Ice Maker on the two top screws and install the bottem screw. It took e while for the new Ice Maker to start it's cycle but after it did, it worked GREAT. Part Select service was OUTSTANDING, ordered part one day and received the next. THANKS!!!!
Parts Used:
Replacement Ice Maker
  • Max from Green Castle, IN
  • Difficulty Level:
    Really Easy
  • Total Repair Time:
    15 - 30 mins
  • Tools:
    Nutdriver, Screw drivers
595 of 638 people found this instruction helpful.
Was this instruction helpful to you?
Thank you for voting!
Front wheel was broken when moving refrigerator
Lifted the front up onto a scrap 2x4 to get it off the ground and it had 1 bolt that you removed to get the old item off and replace with new assymbly and 1 bolt to re attach. This sat broke for over a year becuase I thought it would be alot harder to fix, found the part on parts select ordered it recieved it in approx 2 days and had it fixed in less than 15 minutes. I would recommend parts select to anyone who told me that they had a appliance broken.
Thanks
Parts Used:
EveryDrop Water Filter Refrigerator Front Roller Kit
  • Jeff from Midway, GA
  • Difficulty Level:
    Really Easy
  • Total Repair Time:
    Less than 15 mins
  • Tools:
    Socket set
527 of 555 people found this instruction helpful.
Was this instruction helpful to you?
Thank you for voting!